HVATALJKE ZA BURAD
Hvataljke za burad koriste se za podizanje i prenošenje buradi, uspravno ili položeno.
Opis

Univerzalne, tip SL

Vertikalne, tip QT

Vertikalne, tip LR

Vertikalne, tip TDC

Horizontalne, tip YQC

TIP QT

TIP TDC

TIP LR

TIP SL

TIP YDC





Hvataljke za burad se mogu koristiti pojedinačno ili u paru.
Način podizanja i prenošenja zavisi od vrste materijala u buradima.
U ponudi su univerzalne, vertikalne i horizontalne hvataljke za burad.

Vertikalne, tip QT
| Nosivost u t | Raspon čeljusti u mm | Maksimalno opterećenje pre plastične deformacije u t | A u mm | B u mm |
|---|---|---|---|---|
| 0,2 | 1-9 | 0,4 | 76 | 127 |

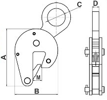
Vertikalne, tip TDC
| Nosivost u t | Raspon čeljusti u mm | Maksimalno opterećenje pre plastične deformacije u t | A u mm | B u mm | C u mm | D u mm |
|---|---|---|---|---|---|---|
| 0,5 | 0-17 | 1 | 128 | 96 | 40 | 16 |

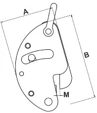
Vertikalne, tip LR
| Nosivost u t | Raspon čeljusti u mm | Maksimalno opterećenje pre plastične deformacije u t | A u mm | B u mm | C u mm |
|---|---|---|---|---|---|
| 0,5 | 550 – 600 | 1 | 50 | 720 | 238 |

Univerzalne, tip SL
| Nosivost u t | Maksimalno opterećenje pre plastične deformacije u t | A u mm | B u mm | C u mm |
|---|---|---|---|---|
| 1 | 2 | 6,3 | 66 | 690 |

Horizontalne, tip YDC
| Nosivost u t | Maksimalno opterećenje pre plastične deformacije u t | A u mm | B u mm | C u mm |
|---|---|---|---|---|
| 0,6 | 1,2 | 0-30 | 310 | 385 |









