Alke se kortiste za izradu lančanih, čeličnih i poliesterskih priveznica. Koriste se alka samica (oznaka A) za jednokrake i dvokrake priveznice i obesni komplet (oznaka AB) za trokrake i četvorokrake priveznice.
Kod jednokrakih i dvokrakih priveznica spoj alke i lanca se ostvaruje spojnim članom.
Kod obesnog kompleta spoj alke i lanca se ostvaruje pomoću dve manje karike i spojnih članova.
Svaka alka ima svoju nosivost što direktno utiče i na njihove dimenzije.
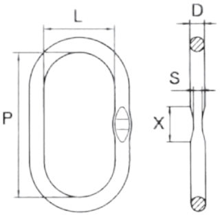
Alka samica – dimenzije
Dimenzije i nosivost alke samice u GR80 i GR100
Oznaka (AD)
∅ lanca u mm
Visina otvora (P) u mm
Širina otvora (L) u mm
Nosivost u kg
Nosivost u kg
⊥
∧
0°-45°
45°-60°
0°-45°
45°-60°
A13
6
6
110
60
1500
1600
1900
2000
A13
7
6
110
60
1500
1600
1900
2000
A16
8
7
110
60
2000
2120
2500
2650
A18
10
8
135
75
3150
2800
4000
3550
A22
13
10
160
90
5300
4250
6700
5600
A26
16
13
180
100
8000
7500
10000
95050
A32
18
16
200
110
10000
11200
12000
14000
A36
20
18
260
140
12500
14000
16000
17500
A40
22
20
300
160
15000
17000
19000
22400
A45
26
22
340
180
21200
21200
26500
26500
A51
32
26
350
190
31500
30000
40000
37100
A57
36
32
400
200
40000
45000
50000
58000
A60
40
36
400
200
50000
56000
–
–
Obesni komplet – dimenzije
Dimenzije i nosivost obesnog kompleta u GR80 i GR100